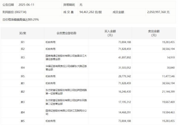
利民股份今日涨停,成交额20.51亿元168股票配资,换手率24.92%。盘后龙虎榜数据显示,三机构专用席位净买入1.05亿元。

昂利康今日涨停 四机构专用席位净买入2.35亿元168股票配资昂利康今日涨停 四机构专用席位净买入2.35亿元
0 14分钟前
哈焊华通今日涨停 二机构专用席位净卖出4348.19万元哈焊华通今日涨停 二机构专用席位净卖出4348.19万元
0 05-27 16:26
威高血净今日涨56.26% 五机构专用席位净卖出9264.77万元威高血净今日涨56.26% 五机构专用席位净卖出9264.77万元
0 05-19 16:48
尤夫股份今日涨停走出3连板,有4家机构专用席位净卖出1.46亿元尤夫股份今日涨停走出3连板,有4家机构专用席位净卖出1.46亿元
0 05-15 16:24
东阿阿胶今日跌停168股票配资,有4家机构专用席位净卖出3.60亿元东阿阿胶今日跌停,有4家机构专用席位净卖出3.60亿元
0 04-28 16:39 一财最热 点击关闭在线配资炒股提示:文章来自网络,不代表本站观点。